Страница 77
05.03.2026

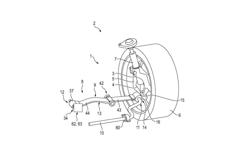
Дёшево и просто: Porsche патентует компактную регулируемую рессорную подвеску

Компания Porsche продолжает патентовать нестандартные технические решения которые могут пригодиться ей в будущем: на днях в в электронной базе WIPO (Всемирная организация интеллектуальной собственности) всплыла …

Kia рассекретила внешность и салон обновлённого кроссовера Niro

Корейцы оформили экстерьер своего паркетника в соответствии с актуальным фирменным стилем бренда. Подробности появятся в марте 2026 года. Kia представила компактный кроссовер Niro в 2016 …

Toyota обновила вэн HiAce прошлого поколения: изменения коснулись салона и списка оснащения

Эта модель на домашнем рынке по-прежнему в строю, хотя новое поколение уже давно в продаже. Технику посвежевшей версии оставили прежнюю. Компания Toyota начала выпускать автомобили …